Профессиональное телевизионное оборудование

 
 
 

 

Продукция по семействам

 

Продукция по категориям

 
 

Главная > Логогенераторы...  PN-LGM-521

 

Логогенератор, бесподрывный коммутатор/микшер сигналов 3G/HD/SD SDI PN-LGM-521

 

Логогенератор, бесподрывный коммутатор/микшер сигналов 3G/HD/SD SDI PN-LGM-521 (далее по тексту логогенератор) предназначен для, коммутации или микширования двух сигналов 3G/HD/SD SDI с синхронизацией каждого из каналов к опорному сигналу REF, наложения логотипов на выходной сигнал.

Формирование статических, динамических и текстовых логотипов и “бегущих строк” на двух графических слоях, до -3-х непересекающихся логотипов на каждом слое. Формирование заставки со звуковым сопровождением. Общее количество пикселей всех фаз логотипа не должно превышать 20 611 752 (~78MB). Поддерживаемые форматы графических логотипов: targa 32 бита с альфа-каналом. Имеется возможность загрузки звуковых данных формата WAV для вставки звука во время заставки. Местное управление по GPI. Прием информации от внешних источников метеоданных и времени от внешних NTP-серверов по сети ETHERNET. Выдача предварительно загруженных “бегущих строк” в реальном времени от ПК (RSS). Возможность привязки графических композиций ко входам. Выходы Preset (OUT PST), Program (OUT PGM). Релейный обход. WEB интерфейс для управления и загрузки графической информации.

Для синхронизации блока используется один из глобальных входов синхронизации  корзины.

 

 

  Функциональные возможности:

  • бесподрывная коммутация и микширование двух сигналов 3G/HD/SD SDI;

  • индикация потери входного сигнала SDI IN A/B;

  • автоматическое определение стандарта входного сигнала SDI IN A/B;

  • внутренний генератор сигнала ГЦП (BARS) с тон – сигналом 1 кГц;

  • полноэкранная заставка со звуковым сопровождением  (STORE);

  • формирование графических (статических и динамических) и текстовых логотипов;

  • формирование бегущей строки;

  • отображение времени и температуры;

  • автоматическое определение стандарта входного сигнала REF IN;

  • пропуск звуковых данных из 1-ой и 2-ой групп входного сигнала;

  • индикация наличия вложенного аудио во входном сигнале.

  • автоматический корректор кабеля для входного сигнала SDI IN A/B;

 
Технические характеристики тракта

 

Входы:

Вход SDI IN A/B:

 

Поддерживаемые стандарты

SMPTE 259M (SDI):

625i/50;

525i/59.94.

SMPTE 292M (HD SDI) :

1080i/50;

1080i/59. 94;

1080i/60;

1080p/23.98;

1080p/24;

1080p/25;

1080p/29. 97;

1080p/30;

720p/50 ;

720p/59. 94; 

720p/60.

SMPTE 424M/ SMPTE 425M

 (3G Level A 4:2:2):

1080p/50;

1080p/59. 94;

1080p/60.

Поддерживаемые звуковые группы

1,2 (8 каналов)

Разъемы

BNC

Входное сопротивление

75 Ом

Автоматическая коррекция кабеля (для кабеля Belden 1694A или аналогичного)

3G - до 120 м;

HD - - до 140 м;

SD - - до 400 м.

 

Вход синхронизации REF IN (REF 1 или REF 2 корзины):

 

Вход

закрытый, проходной

Разъём

BNC

Размах ССП

HD – трехуровневый аналоговый сигнал

(600 +/- 100) mV 

SD  – сигнал черного поля (300 +/- 100) mV 
или   композитный сигнал 1Vpp

Входное сопротивление

больше 10 кОм

Поддерживаемые стандарты

BB PAL/SECAM: 625i/50;

BB NTSC: 525i/59,94;

TRI LEVEL SYNC:

SMPTE 292M :

1080i/50;

1080i/59. 94;

1080i/60;

1080p/23.98;

1080p/24;

1080p/25;

1080p/29. 97;

1080p/30;

720p/50 ;

720p/59. 94; 

720p/60.

SMPTE 424M/ SMPTE 425M :

1080p/50;

1080p/59. 94;

1080p/60.

 

 

Вход управления GPI:

GPI входы

4 входа. Внешнее управление логогенератором
(замыкание на землю соответствующего контакта)

Разъём

RJ 45

 

Выходы

 

Выход SDI OUT PGM/PST:

 

Количество выходов для каждого канала

1

Разъёмы

BNC

Выходное сопротивление

75 Ом

Стандарт

соответствует входному

Выходное затухание несогласованности

не менее 12 дБ до 1.5 ГГц

Размах

800мВ±10%

Джиттер

 менее 0.2UI (единичного интервала)

 

 

Выход управления GPI (TALLY):

TALLY выходы

Реле, “сухой контакт”,

выход NC-COM (нормально-замкнутые контакты)

выход NO-COM (нормально-разомкнутые  контакты)

Разъём

RJ 45

Макс. коммутируемый ток

1 А (Umax = 30 В)

Макс. коммутируемое напряжение

110 В (Imax = 0,3 A)

Макс. коммутируемая мощность

30 Вт

 

Входы-выходы управления:

 

Ethernet:

Стандарт

 IEEE 802.3i 10 Base-T, IEEE 802.3u 100 Base-T

Разъём

 RJ 45

 

 

Потребляемая мощность:  не более 6 Вт.

Диапазон рабочих температур:  от 5 до 45°С.

Время непрерывной работы:  24 часа.

Габаритные размеры:  фронтальная плата 250x100 мм, задняя плата 100х110 мм.

Масса:  не более 0,4 кг.

 

 

 

Общее устройство и принцип действия

 

Логогенератор серии PN-LGM-521 является устройством модульной системы "PROFNEXT" и содержит в своём составе один фронтальный (F) и один задний (R) модули системы "PROFNEXT".

 

 

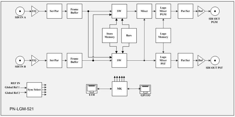
Структурная схема логогенератора

 

Входной сигнал SDI IN A/B поступает на кабельный корректор (EQ), затем  на SDI декодер (Ser/Par), где преобразуется в 20-разрядный поток 4:2:2. Видео данные записывается в память (Frame Buffer), после чего считывается на частоте опорного сигнала. В качестве опорного сигнала блока может быть один из глобальных входов корзины Global Ref 1/2 (REF IN), либо внутренний генератор. Из входных сигналов извлекаются 1-ая и 2-ая звуковые аудио группы. Звуковые данные перетактируются к тактовой частоте,  привязанной к опорному сигналу, задерживаются на время задержки видеоданных и вставляются в выходной сигнал.

 

Коммутаторы SW позволяют коммутировать входные сигналы А/В, а также внутренние сигналы заставки (STORE), тестовый сигнал ГЦП75% (BARS) и черное поле (BLACK) на выход PGM или PST (прямая коммутация). Mixer обеспечивает плавное микширование сигналов с выхода коммутатора программной линейки (PGM). Возможно три варианта микширования: Xmix, Vmix, CUT.

Формат выходного видеосигнала определяется  автоматически от входа A, B или устанавливается принудительно (рекомендуется). Формат опорного сигнала REF IN может не совпадать с форматом входного сигнала, но должен иметь кратную кадровую частоту и соответствующий режим кадровой развертки.

 

 

        

 

Внешние разъёмы логогенератора

 

 

Индикаторы на фронтальном модуле

 

Индикаторы размещаются на плате фронтального модуля.

 

 

Внешний вид индикации

 

Светодиоды, расположены на печатной плате и индицируют состояние блока:

  • PGM OUT A     – если светодиод горит зеленым - на выход PGM OUT проходит сигнал со входа SDI IN A;

  • PGM OUT B     – если светодиод горит зеленым - на выход PGM OUT проходит сигнал со входа SDI IN B;

  • PGM LOGO ON     – если светодиод горит зеленым - на выходе PGM OUT включена одна из сцен с логотипами;

  • IN A/B               – если светодиод горит зеленым - указывает на присутствие сигнала на входе SDI IN A/B и соответствии его допустимому  стандарту, желтым- наличие сигнала на входе и несоответствии его  допустимому стандарту модуля,  красным – отсутствие сигнала.

  • AUD DET A/B – зажигание светодиода индицирует наличие звуковых данных во входном сигнале, не горит – отсутствие.

  • LOCK REF       – если светодиод горит зеленым - индикация привязки выходного сигнала к опорному сигналу REF IN корзины.

 

 

Конструктивное исполнение

 

Конструктивно логогенератор серии PN-LGM-521 выполнен на фронтальном (PN-1172F2) и заднем (PN-1174R1) модулях системы “PROFNEXT”, которые размещаются в корпусах 1U или 3U этой системы, и занимает один слот в корпусе.  В корпусе 1U блоки располагаются горизонтально, в корпусе 3U – вертикально.

Фронтальный модуль выполнен в виде платы размером 250х100 мм. Плата двигается по направляющим и легко извлекается с помощью рычагов, расположенных на краю платы. На фронтальном модуле размещаются также дополнительные платы (в зависимости от модификации).

Задний модуль выполнен в виде платы размером 100х110 мм,  на которой размещены входные и выходные разъемы устройства. Плата легко извлекается из корпуса после выкручивания фиксирующих винтов, крепящих плату к корпусу.

Соединение фронтального и заднего модулей осуществляется напрямую через разъем. Через поперечную кросс-плату, которая встроена внутри корпуса “PROFNEXT”, на модули поступает напряжение питания, команды управления, и два глобальных опорных синхросигнала, если они используется.

 

                            

 

Управление устройством серии PN-LGM-521

 

Управление устройством выполняется от ПЭВМ, лицевой панели управления корзины и внешнего пульта PURP-4125-LG

 

Управление через локальный WEB-интерфейс блока

 

Полное управление и настройка логогенератора, а также формирование и загрузка его внутренней графики осуществляется через локальный WEB-интерфейс блока

 

Управление через WEB-интерфейс корзины PROFNEXT


Управление основными функциями модуля возможно через блок центрального процессора дистанционного управления корзины PROFNEXT

 


 

Program:

Input – коммутация сигналов на программном выходе:

IN A/B – входные сигналы INA или IN B;

STORE – полноэкранная заставка;

BARS – тестовый сигнал ГЦП75%;

BLACK – тестовый сигнал черного поля.

 

Scene 1-3 – переключение сцен на программном выходе.

 

Preset:

Input – коммутация сигналов на подготовительном выходе:

IN A/B – входные сигналы INA или  IN B;

STORE – полноэкранная заставка;

BARS – тестовый сигнал ГЦП75%;

BLACK – тестовый сигнал черного поля.

 

Scene 1-3 – переключение сцен на подготовительном выходе.

 

 

Transition:

            TRANS - команда на выполнение перехода.

 

Alarm - Установка флагов разрешения сигналов тревоги (статус блока):

Input A/B Format - наличие входного сигнала SDI IN A/B и соответствия формата установленному на выходе;

 Input A/B Audio - отсутствие звука во входном сигнале SDI IN A/B;

Ref - отсутствие синхронизации от входного сигнала REF IN;

SD card - отсутствие карты памяти в слоте.

 

Status - состояние входных и выходных сигналов:

                        Output – выходной формат блока;

                        Input A:

                                   Format – формат входного сигнала на входе SDI IN A;

                                   Audio Det – наличие звуковых групп во входном сигнале SDI IN A;

                        Input B:

                                   Format – формат входного сигнала на входе SDI IN B;

                                   Audio Det – наличие звуковых групп во входном сигнале SDI IN B;

                        Ref:

                                   Format – формат входного сигнала на входе REF IN;

                                   Genlockстатус синхронизации (LOCK / NO LOCK);

 

                        SD CARD – наличие карты памяти.

 

System:

                        IP Address – IP адрес блока;

 

                        Version Soft - версия ПО модуля;

                        Version FPGA - версия ПЛИС модуля.

                       

 

Управление от лицевой панели корзины PROFNEXT

 

Управление основными функциями модуля от лицевой панели корзины осуществляется через меню на графическом дисплее. Пункты меню совпадают с регулировками доступными через веб‑интерфейс корзины PROFNEXT. Все меню разделено на страницы, которые могут быть информационными или установочными. Выбор страниц и изменение параметров производится вращением многофункциональной кнопки управления. Вход в подменю или применение выбранного параметра – кнопкой ENTER. Выход на  один уровень вверх - кнопкой  ESC.

 

 

Управление через программный комплекс PROFLEX3

 

Интерфейс программного комплекса PROFLEX3 предназначен для мониторинга состояния и режимов работы блока через блок центрального процессора дистанционного управления корзины PROFNEXT .

 

Строка STATUS  - общая для всех модулей, некоторые из индикаторов могут не использоваться:

STATUS REF – наличие сигнала на выбранном входе REF IN 1/2;

STATUS INPUT – наличие сигнала на входе, который подан на PGM OUT;

STATUS FREEZE – не используется;

STATUS BARS – не используется;

 

Program статус выхода PGM OUT:

IN A/Bвходные сигналы INA или IN B;

STORE – полноэкранная заставка;

BARS – тестовый сигнал ГЦП75%;

BLACK – тестовый сигнал черного поля.

 

Scene 1-3 – включенные сцены на выходе PGM OUT;

 

Preset статус выхода PST OUT:

IN A/Bвходные сигналы INA или  IN B;

STORE – полноэкранная заставка;

BARS – тестовый сигнал ГЦП75%;

BLACK – тестовый сигнал черного поля.

 

Scene 1-3 – включенные сцены на выходе подготовки PST OUT;

 

OUT Format – выходной формат блока;

 

INP A Format – формат входного сигнала на входе SDI IN A;

Aud Gr detect – наличие звуковых групп во входном сигнале SDI IN A;

 

INP B Format: – формат входного сигнала на входе SDI IN B;

Aud Gr detect – наличие звуковых групп во входном сигнале SDI IN B;

 

REF Format – формат входного сигнала на входе REF IN;

Genlock – статус синхронизации блока (LOCK / NO LOCK);

 

SD Card – наличие карты памяти.

 

Управление от внешнего пульта PURP-4125-LG

 

Управление от пульта PURP-4125-LG осуществляется по сети Ethernet. Пульт позволяет осуществить коммутацию на программном и подготовительном выходах, подать команду на выполнение перехода, а также включать и выключать сцены на программном и подготовительном выходах (подробнее см. описание пульта “Пульт управления PURP-4125-LG”).

 

 

Дистанционное управление

 

Разъём дистанционного управления локальный GPI I/O (типа RG-45) расположен на задней планке модуля. Управление производится кратковременным  замыканием контакта GPI  на землю GND. Конфигурирование сигналов дистанционного управления GPI осуществляется на панели GPI локального WEB-интерфейс блока:

 GPI 1 – Не настраиваемый сигнал дистанционного управления - команда TRANSITION;

GPI 2 ... GPI 4 – Эти сигналы можно настроить на выбор любого источника на выходе

PROGRAMM или PRESET, а также на включение и выключение сцен на этих выходах.

Устройство так же позволяет реализовать дистанционное управление подчинёнными устройствами или устройствами аварийной сигнализации. Для этой цели служат выходы TALLY: NO (нормально разомкнутый), NC (нормально замкнутый), COM (общий). При отключении канала А на основном выходе происходит переключение контактов.

 

Название

Номер контакта

Назначение

GPI 1

1

Не настраиваемый сигнал дистанционного управления - команда TRANSITION

GPI 2

2

Определяется настройкой

GPI 3

3

Определяется настройкой

GPI 4

4

Определяется настройкой

TALLY NC

5

нормально-замкнутый контакт  выхода TALLY

TALLY NO

6

нормально-разомкнутый контакт  выхода TALLY

TALLY COM

7

общий контакт TALLY

GND

8

земля


 

^Наверх